
鞏義市仁源水處理材料廠
聯系人:孫經理
手機:15838253283(微信同號)
電話:0371-66557686
郵箱:1813885391@qq.com
地址:河南省鞏義市工業園區
無煙煤濾料廠家:無閥濾池全解析
精制無煙煤濾料,無煙煤濾料價格,無煙煤濾料廠家直銷,水處理用無煙煤濾料規格
無閥濾池工作原理
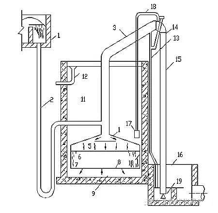
原水經進水分配槽后,由進水管進入虹吸管上升管,再經頂蓋下面的擋板均勻分布在濾料層上,濾后水經連通渠上升到沖洗水箱,經溢流堰流入清水池。隨著過濾時間的增加,濾料層水頭損失逐漸增加,虹吸上升管水位相應升高,當水位上升到虹吸輔助管管口時,水從輔助管流下,管中形成的真空帶動下降管中的水流一起流入,而使管中的真空急劇增加,形成反沖洗,當水箱水位下降到虹吸破壞斗時,沖洗結束,過濾重新開始。
工藝特點
無閥門,可實現自動過濾自動反沖洗,操作管理方便;但池體結構復雜,濾料處于封閉結構中,裝、卸困難;池體較高。
應用范圍 :
多用于中、小型給水工程或污水的深度處理
特制無閥濾池利用自來水行業的無閥濾池改造而成的高效過濾設備,它采用虹吸原理進水和排走洗砂水,并利用小阻力配水系統和池體本身的水箱來進行反沖洗,且可輔以氣、水強制反沖洗。多層濾料級配科學合理,截污能力強,出水濁度低。 原水由進水管送入池內,經過濾層自上而下地過濾,清水即從連通管注入沖洗水箱內貯存,水箱充滿后,通過出水管入清水池。濾層不斷截留懸浮物,造成濾層阻力的逐漸增加,因而促使虹吸管內的水位不斷的升高,當水位達到虹吸輔助管管口時,便發生虹吸作用。這時,沖洗水箱中的水自下而上地通過濾層,對濾料進行反沖洗。當沖洗水箱水面降至虹吸破壞管時,空氣進入虹吸管,破壞虹吸作用。濾池反沖洗結束,進入下一個周期。
突出優點
★投資省、運行費用低;
★管理簡單;易于自動化控制;
★無大型閥門及相應電動、水力控制設備;
★氣、水反沖洗效果好,濾料使用壽命長;
★可人工設定反沖洗強度
★濾料層濾速快,過濾周期長;
★用于污水處理時應調整濾料級配。

1.高位進水槽;2.進水管;3.虹吸上升管;4.頂蓋;5.布水檔板;6.濾料;7.承托層;8.格柵;9.集水區 ;10.連通管(渠);11.沖洗水箱;12.出水管;13.虹吸輔助管;14.抽氣管;15.虹吸下降管;16.排水井;17.虹吸破壞斗;18.虹吸破壞管;19.反沖洗強度調節器